Машины ударно-вращательного бурения.
Ударно-вращательный способ бурения совмещает в себе признаки ударного и вращательного бурения резанием. При этом способе удары высокой энергии осуществляются погружным ударником (преимущественно пневматическим). На эти удары накладываются относительно небольшие осевое усилие и момент вращения. Порода разрушается ударом долота, а оставшиеся гребешки срезаются при его повороте.
Станки ударно-вращательного бурения погружными
Пневмоударниками.
Техническая характеристика станков ударно-вращательного бурения
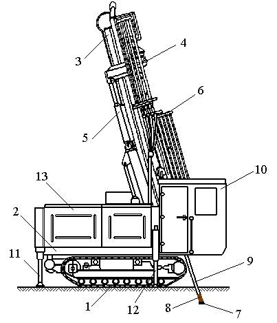
Станок СБУ-125У-52 (см. рис.3.1.) на гусеничном ходу 1, балансирно связанным с рамой платформы 2, имеет мачту 3, вращатель 4, пневмоцилиндр 5 подачи бурового става и кассету 6 со штангами.
Рис. 3.1. Буровой станок СБУ-125У-52
1 – гусеничный ход; 2 – платформа; 3 – мачта; 4 – вращатель;
5 – пневмоцилиндр подачи; 6 – кассета; 7 – долото; 8 – пневмоударник;
9 – штанга; 10 – кабина; 11 – задний гидродомкрат;
12 – передний гидродомкрат; 13 – кузов.
Разрушение породы на забое скважины осуществляется долотом 7, установленным в пневмоударнике 8, соединенном со штангой 9. Процессом бурения машинист управляет из кабины 10. Горизонтирование станка обеспечивается тремя гидродомкратами – одним задним 11 и двумя передними 12. В кузове 13 расположены маслостанция системы управления приводами и вспомогательные механизмы.
Станки типа СБУ выпускаются с механизмами подачи двух видов – с пневмоцилиндром (см. рис.3.1.) и с пневмодвигателем (см. рис.3.2.).
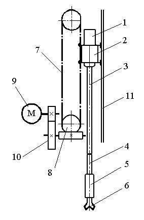
Рис. 3.2. Кинематическая схема вращательно-подающего механизма
1 – электродвигатель; 2 – редуктор; 3 – буровой став; 4 – переходник;
5 – пневмоударник; 6 – долото; 7 – втулочно-роликовая цепь; 8 – звездочка;
9 – пневмодвигатель; 10 – редуктор; 11 – направляющие.
В последнем случае вращательно-подающий механизм состоит из электродвигателя 1, который сообщает вращение через редуктор 2 буровому ставу 3, переходнику 4, пневмоударнику 5 и долоту 6. Подающий механизм содержит две втулочно-роликовые цепи 7, концы которых крепятся к коромыслу вращателя. Привод цепи осуществляется звездочкой 8 от пневмодвигателя 9 через двухступенчатый редуктор 10. Буровой став перемещается вдоль мачты по направляющим 11 при включении двигателя 9.
Комплект бурового инструмента для ударно-вращательного бурения состоит из буровых штанг, переходника, погружного пневмоударника и долота. Буровая штанга служит для передачи крутящего момента от вращателя к долоту и одновременно выполняет функции подачи сжатого воздуха к пневмоударнику и забою скважины. Переходник соединяет став буровых штанг с пневмоударником. Он имеет унифицированные со штангой муфту и ниппель и более короткую длину трубы.
Выпускаются пневмоударники с бесклапанной и с клапанной (см. рис.3.3.) системами воздухораспределения.
Рис. 3.3. Пневмоударник с клапанной системой воздухораспределения.
1 – корпус; 2 – ударник; 3 – клапанная коробка; 4 – клапан; 5 – переходник;
6 – сетка; 7 – долото; 8 – шпонка; 9 – верхняя камера; 10 – нижняя камера;
Корпус 1 пневмоударника представляет собой толстостенный цилиндр. Внутри корпуса находятся ударник 2 и клапанная коробка 3. Клапанная коробка имеет седла, между которыми движется клапан 4. Клапанная коробка прижимается к торцевой проточке корпуса с помощью переходника 5, который соединяется с буровой штангой. Внутрь переходника вставлена сетка 6 для очистки сжатого воздуха от посторонних примесей. В передней части пневмоударника находится долото 7, которое крепится в корпусе с помощью шпонки 8.
При движении вверх ударник будет сжимать воздух, оставшийся в камере 9 и давление передастся на клапан 4. Когда ударник откроет отверстия 11, давление в канале 13 упадет почти до атмосферного и произойдет перекидка клапана в верхнее положение. Сжатый воздух при этом снова будет поступать в верхнюю камеру, и цикл повторится.
Удаление буровой мелочи производится сжатым воздухом, который проходит по каналам 14 и 15 вдоль корпуса пневмоударника к забою скважины.
Хвостовик долота закрепляют в пневмоударнике шпонкой или шариковым замком. Лыска на хвостовике позволяет долоту смещаться в осевом направлении, что необходимо для обеспечения запуска пневмоударника прижатием долота к забою и открытия каналов перемещения поршня.
Долота с опережающим лезвием БК-155 (рис.3.4.а) применяют для забуривания скважины.
Они состоят из головки 1 с опережающим лезвием 2 и тремя твердосплавными лезвиями 8 и хвостовика 3. Хвостовик служит для передачи импульса от пневмоударника и крутящего момента через твердосплавные лезвия к забою скважины.
Наибольшее распространение имеют четырехперые Х-образные долота К-105КА и К-130К (см. рис.3.4.б) с осевым каналом 4 для продувки забоя скважины. При бурении погружными пневмоударниками также широко применяют долота типа КНШ (рис.3.4.в), армированные штырями 6 из карбида вольфрама со сферической рабочей поверхностью.
Рис. 3.4. Долота для ударно-вращательного бурения:
а – БК-155; б – К105КА; в – КНШ-110
1 – головка; 2 – опережающее лезвие; 3 – хвостовик; 4 – осевой канал;
5 – лыска; 6 – штыри; 7 – шариковый замок; 8 – твердосплавное лезвие.
Для сохранения высокой скорости бурения штыри долота требуют периодической заточки.
Способы бурения, ударное и ударно-вращательное бурение скважин
1. Назначение и способы бурения
В строительстве буровые работы применяются главным образом при инженерно-геологических изысканиях, разработке взрывным способом скальных или рыхлении мерзлых грунтов, устройстве водопонижающих скважин, искусственном закреплении грунтов, устройстве набивных свай.
С помощью бурения в грунте образуются каналы различного диаметра и глубины. Каналы диаметром до 75 мм и глубиной до 5-6 м принято называть шпурами, при больших размерах – скважинами.
Они могут быть вертикальными, наклонными и горизонтальными.
Дно скважины (шпура) называют забоем, верхнюю часть – устьем, боковые поверхности – стенками. Буровые работы производят, как правило, с использованием механического оборудования. При небольшой глубине бурения и незначительных объемах работ допускается применение ручного бурового инструмента.
Трудоемкость бурения породы характеризуется временем чистого бурения 1 м скважины (шпура) и зависит от крепости породы.
Крепость породы характеризуется коэффициентом крепости f.
Коэффициент f равен:
По характеру разрушения горных пород способы бурения подразделяются на две группы:
При производстве буровых работ наибольшее распространение получили механические способы бурения:
Разрушенный грунт (шлам) удаляют из скважин глинистым раствором или водой, струей сжатого воздуха, шнековыми устройствами, желонками и другими приспособлениями, выбираемыми в зависимости от способа бурения, глубины скважины и рода грунта.
Стенки скважин в слабых, рыхлых и насыщенных водой грунтах крепят стальными обсадными трубами. Колонны обсадных труб составляют из звеньев длиной 1,5…4,5 м, соединяемых между собой муфтами, ниппелями или свинчиванием (труба в трубу). Внутренний диаметр труб принимают на 4…6 мм больше диаметра бурового инструмента. Для облегчения опускания колонны обсадных труб на нижнее их звено устанавливают коронку, а для защиты нарезки от ударов на верхнее звено обсадной трубы – патрубок.
К немеханическим способам относят:
Из немеханических способов практическое значение в настоящее время имеет термический (огневой) способ. Область применения такого или иного способа бурения определяется физико-механическими свойствами горных пород, а также минимальными затратами на бурение.
По характеру образования буровых выработок различают бурение сплошным забоем и колонковое.
При бурении сплошным забоем всю породу в скважине разрушают и удаляют в разрушенном виде.
При колонковом бурении разрушение породы происходит лишь по кольцевой поверхности забоя, а внутреннюю часть породы в виде цилиндра (керна) извлекают из скважины целиком. Колонковое бурение обычно применяется в разведывательных целях, так как оно позволяет исследовать породу ненарушенной структуры.
Технологический процесс механического бурения складывается из операций по разрушению породы, транспортированию породы на поверхность, обеспечению устойчивости стенок скважины и вспомогательных операций. Грунт в забое разрушают ударами, резанием, истиранием, сколом и комбинированным способом (например, ударновращательным). Буровой наконечник приводится в действие вращением, сбрасыванием (при подвеске на канате или штанге), принудительным внедрением в породу забивкой, вибрацией, вдавливанием и т. д.
Дальнейшее совершенствование буровых работ идет в направлении создания новых экономичных методов бурения, комплексной механизации и автоматизации процессов, оснащения буровых агрегатов гидроприводом и контрольно-измерительными приборами.
2. Бурение скважин ударным методом
Буровой станок, применяемый для ударного бурения, состоит из агрегата на гусеничном ходу, рамы, кабины, мачты с инструментальным и желоночным блоками, механизма свинчивания бурового снаряда, инструментальной и желоночной лебедок. Мачту поднимают и опускают ручной лебедкой. Ударным способом бурят скважины диаметром до 400 мм и глубиной до 200 м (рис. 1).
На буровом снаряде закрепляется рабочий инструмент (долота, стаканы или желонки). Сорвавшиеся части бурового снаряда извлекают ловильным инструментом. Принцип ударного бурения скважин используется в станках ударно-канатного бурения. Ударно-канатное бурение эффективно при проходке скважин в мерзлых грунтах, закарстованных породах и в породах с коэффициентом крепости f 3. Бурение скважин ударно-вращательным методом
Ударновращательное бурение применяют для бурения скважин диаметром 100…200 мм, глубиной до 30 м. При ударно-вращательном бурении породоразрушающий инструмент одновременно с усилиями, характерными для вращательного способа, испытывает динамические нагрузки, которые периодически и с большей частотой воздействуют на буровую коронку, что способствует повышению эффективности разрушения породы и резко уменьшает износ коронки по сравнению с вращательным бурением.
Особенность его состоит в том, что ударное действие и вращение бурового инструмента выполняются двумя независимо работающими механизмами – вращателем и погружным пневмоударником (рис. 2, 3).
Порода удаляется из скважины отработанным в пневмоударнике сжатым воздухом или потоком воды, нагнетаемой в скважину. Ударновращательный способ применяется при бурении крепких и трудноразрушаемых пород со значительной трещиноватостью.
Рис. 2 — Ударно-вращательное бурение
Рис. 3 — Ударно-вращательное бурение горных пород
К механизмам ударно-вращательного бурения относятся также пневматические бурильные молотки-перфораторы, используемые для бурения шпуров в породах любой крепости.
4. Способы вращательного бурения скважин
Для разрушения породы вращательным бурением применяют буровые наконечники, снабженные специальными коронками: алмазными, из твердых сплавов и др. Буровой наконечник приводится во вращение колонной штанг или труб, по которым на забой подается промывочная жидкость (рис. 4).
Основные виды вращательного способа бурения – роторное и шнековое, выполняемые с помощью самоходных установок (преимущественно) или станков. Применяют также электрические сверлильные машины.
Для устройства скважин в рыхлых породах наиболее часто в строительстве применяется роторное вращательное бурение сплошным забоем шарошечными и лопастными долотами (рис. 5). Режим роторного бурения определяется осевым давлением на долото, скоростью вращения и количеством подаваемой в скважину промывочной жидкости.
Рис. 4 — Станки и инструмент вращательного бурения: а) схема станка шнекового бурения; 1 – резец; 2 – платформа; 3 – лебедка; 4 – направляющая стойка; 5 – штанга с ребортой; 6 – электродвигатель; б) колонковый снаряд; 1 – кольцевая коронка; 2 – колонковая труба; 3 – переходная муфта; 4 – вращающаяся штанга станка; в) кольцевые коронки армированные;1 – резцы, армированные твердыми сплавами; 2 – алмазные резцы; г) схема станка роторного бурения; 1 – бурильная труба; 2 – лебедка; 3 – ротор; 4 – вертлюг; 5 – вышка; 6 – рабочая труба; 7 – соединительная труба; 8 – насос; 9 – бак с глиняным раствором; 10 – долото; д) рабочие наконечники; 1 – шарошечное долото; 2 – лопастное уступчатое долото; 3 – лопастное долото «рыбий хвост»
Осевое давление создается утяжелением нижних бурильных труб. Правильно подобранные утяжеленные трубы создают растягивающее усилие во всей колонне бурильных труб и обеспечивают большую жесткость нижней части колонны, что способствует уменьшению отклонений скважины от вертикали. Величина осевого давления должна меняться в процессе бурения в зависимости от характера проходимых пород и других причин. Для наблюдения за осевым давлением используются гидравлические индикаторы веса. Расход воды для промывки скважин при бурении шарошечными долотами составляет примерно 300…350 л/мин.
Рис. 5 — Схема установки роторного бурения: 1 – долото; 2 – бурильная труба; 3 – соединительная муфта; 4 – стол ротора; 5 – лебедка для подъема талевого блока; 6 – рабочая труба; 7 – вертлюг; 8 – крюк для подвешивания труб; 9 – талевый блок; 10 –шланг; 11 – желоб для возврата воды из скважиныв бак; 12 – бак; 13 – напорный трубопровод; 14 – насос с двигателем для подачи в скважину
Во избежание характерных для роторного бурения искривлений скважин ведут наблюдение за процессом бурения с помощью специального прибора, определяющего угол и азимут искривления. Роторное бурение чаще всего применяют для устройства скважин диаметром до 200 мм и глубиной до 50 м.
При вращении бурового снаряда колонка под действием осевого давления внедряется в породу, образуя кольцевую выработку породы вокруг керна, входящего в колонковую трубу. После проходки на необходимую глубину буровые штанги вместе с колонковым снарядом и керном поднимают лебедкой на поверхность.
Рис. 6. Схема установки колонкового бурения: 1 – резец; 2 – колонковая труба; 3 – трубчатая штанга; 4 – переводник; 5 – шпиндель; 6 – рычажное устройство для регулирования нагрузки на забой; 7 – шланг для подачи в скважину глинистого раствора; 8 – верх шланги; 9 – желоб для осаждения промывочного раствора; 10 – насос; 11 – двигатель; 12 – лебедка для подъема оборудования из скважины; 13 – шламовая труба; 14 – керн
В процессе бурения в забой скважины насосом через бурильные трубы подают глинистый раствор (или воду). Смешиваясь с частицами разрушенной породы, глинистый раствор выносит их на поверхность по кольцевому пространству между штангами и стенками скважины. Глинистый раствор охлаждает бурильный инструмент и одновременно предотвращает обрушение стенок скважины.
Шнековое бурение. Разрушение и траспортирование породы производятся шнеком, который составляется из штанг, имеющих приваренные по спирали реборды. Нижний конец шнека имеет специальное долото. Шаг спирали и скорость вращения шнека выбираются в зависимости от свойств породы.
Разрушенная порода будет легко продвигаться вдоль стенок скважины на поверхность, если сила, прижимающая породу к стенкам скважины, превышает силу трения породы о спираль шнека. По этой причине для бурения в липких и вязких глинах в скважину подливают немного воды, чтобы снизить силу трения между грунтом и поверхностью шнека. Плотные грунты следует бурить с меньшим числом оборотов шнека во избежание перегрева бурового наконечника. Вследствие того, что при шнековом бурении разрушение и транспортирование породы идут непрерывно (сплошным потоком), достигается высокая скорость проходки (рис. 7).
Рис. 7 — Шнековое бурение
Особо эффективен этот способ для бурения скважин диаметром до 250 мм на глубину до 50 м в грунтах II…IV категорий. Бурить скважины большого диаметра шнеками не удается вследствие возникновения чрезвычайно больших сил трения породы о поверхность шнека.
Для бурения неглубоких котлованов диаметром до 1700 мм под фундаменты, столбы и т. п. применяются бурильные машины цикличного действия, снабженные винтовым буром. Разрушение породы происходит при заглублении на высоту бура (1…1,5 захода винта). Грунт извлекается циклично лопастями бура (без вращения). Производительность подобной бурильной машины невысокая из-за цикличности работы и малого объема грунта, извлекаемого за один цикл. Степень влияния этих факторов усиливается с увеличением глубины проходки. Кроме того, конструктивные особенности серийно выпускаемых бурильных машин не позволяют увеличить глубину более 4…5 м.
Для проходки скважин диаметром до 1300 мм на глубину 30 м в неплотных грунтах целесообразно использовать буровые машины, снабженные цилиндрическим буром.
5. Физические способы образования скважин
Рассмотрим термический, гидравлический и электрогидравлический способы образования скважин. Термический способ применяют для бурения очень крепких пород с кристаллической структурой и рыхления мерзлых грунтов. Имеются передвижные станки термического бурения на гусеничном и автомобильном ходу и ручные термобуры. По производительности даже ручное термобурение в 10…12 раз эффективнее механических способов бурения (рис. 8).
Ручной термобур представляет собой металлическую трубку-кожух диаметром 30 мм, в которую вмонтирована реактивная горелка с форсункой, распыляющей керосин. Температура огненной струи, выбрасываемой термобуром, достигает 1800…2000 °С. Если для бурения не требуются такие высокие температуры, то вместо кислорода подводят сжатый воздух. Порода, нагреваясь, раскалывается на мелкие части, выбрасываемые струей газа наверх. Передвижными станками термического бурения можно бурить шпуры и скважины диаметром до 130 мм и глубиной до 8 м, а ручными термобурами — шпуры диаметром 60 мм и глубиной 1,5…2 м.
В мерзлых грунтах шпуры диаметром 50…70 мм и глубиной до 2 м бурят с применением горячего сжатого воздуха. Для бурения используют установку, состоящую из компрессора и калорифера. Сжатый воздух из компрессора, проходя через нагреватель, по шлангам поступает в калорифер. Струя сжатого воздуха, подогретого до 60…90 °С, по шлангу, имеющему перфорированный наконечник, подается в грунт, размораживает его и выбрасывает из шпура.
Рис. 8 — Схемы способов физического бурения: а) схема горелки: 1 – выход воды, 2 – подача кислорода, 3 – подача топлива, 4 – вода, 5 – корпус горелки, 6 – камера сгорания, 7 — упор, 8 — выход газовых струй; б) схема ручного термобура: 1 – насадка, 2 – камера сгорания. 3 – топливная трубка, 4 – щиток, 5 – штанги, 6 – воздушный кран, 7 – монометр, 8 – рукав для воздуха, 9 – топливный кран, 10 – рукав для топлива, 11 – редукционный клапан, 12 – топливный насос, 13 – топливный бак; в) схема гидравлического бурения: 1 – насосная установка для подачи воды, 2 – труба, 3 – обсадная труба, 4 – насадка
Гидравлический способ бурения. При этом способе воду нагнетают в скважину через колонну труб и специальную струйную насадку, прикрепленную к нижней части колонны. Вода размывает забой, и трубы погружаются в грунт. Гидромасса, образованная размывом грунта, под давлением воды выжимается вдоль наружных стенок обсадной трубы, извлекаемой из грунта лебедкой. С помощью гидравлического бурения можно проходить скважины глубиной до 8 м со скоростью до 1 м/мин.
Электрогидравлическое бурение основано на использовании гидравлического удара, который возникает в результате мгновенных давлений в сотни и тысячи атмосфер, создаваемых в жидкости специально сформированными электрическими высоковольтными разрядами. Для сформирования таких разрядов создана установка, позволяющая использовать электрогидравлический эффект для разрушения весьма крепких пород.
Классификация и разновидности буровых станков
Буровые станки (БС) — самоходное либо стационарное оборудование, используемое для разработки скважин в нефтедобывающей промышленности, строительстве и водоснабжении. Существует 4 основных параметра, характеризирующих буровые станки — диаметр и глубина скважин, а также направленность (вертикальное/горизонтальное) и скорость бурения.
В данной статье представлены установки для бурения скважин. Мы рассмотрим их разновидности, устройство и технические характеристики, а приведем обзор наиболее распространенных моделей оборудования.
1 Какое применяют оборудование для бурения скважин?
Основной характеристикой, в соответствии с которой классифицируется оборудование для разработки скважин, является принцип работы. Выделяют 5 основных способов бурения:
Рассмотрим каждый из способов, а также применяемое для его реализации оборудование, более подробно.
к меню ↑
1.1 Станки вращательного (шнекового) бурения
Вращательное бурение осуществляется посредством разработки грунтовых масс вращающейся коронкой, которая с усилием подается вдоль оси скважины. Коронка состоит из нескольких режущих кромок — «перьев», которые контактируя с грунтом скалывают его, тем самым углубляясь вниз. Преимуществом данного способа является высокая скорость, недостатком — возможность применения лишь в почве средней и малой твердости. При работе в твердых грунтах коронка не срезает, а стирает почву, что приводит к ускоренному износу резцов. Существуют специальные алмазные колонки, однако ввиду высокой стоимости такого оборудования их применение распространено крайне слабой.
Рассмотрим устройство станка вращательного бурения на примере распространенной модели СБР-160, который способен разрабатывать скважины диаметром 160-200 мм на глубину до 25 м. Схема данной машины представлена на изображении.
Все самоходные машины вращательного бурения базируются на транспортной базе — гусеничной либо колесной. Модель СБР-160 обустроена на основе экскаватора Э-652А, в ней каждая из гусениц оснащена индивидуальным приводом, что значительно увеличивает проходимость машины.
Рабочий узел агрегата состоит из мачты, шнека и вращателя. Мачта представляет собой направляющую конструкцию, в которой смонтирован механизм подачи буровой колонны (шнека). Сам шнек может быть непрерывным либо секционным- пригодным к наращиванию.
Вращатель бурового станка — устройство, приводящее буровую колонну в действие. В СБР-160 вращатель состоит из асинхронного двигателя, патрона, муфты, редуктора и гидроцилиндра, посредством которого производится переключение скоростей. Технические характеристики данной модели предусматривают 4 скорости бурения — 250, 160, 125 и 80 об/мин.
Также в отечественной промышленности распространены следующие станки вращательного бурения:
Среди оборудования от зарубежных производителей выделим станки вращательного бурения Sandvik, произведенные одноименным шведским концерном. В ассортименте компании представлены агрегаты для разработки скважин глубиной 27-45 м и диаметром до 311 мм.
к меню ↑
1.2 Шнековое бурение скважин станками типа ЛБУ 50 (видео)
2 Станки ударного бурения
Установки для ударного бурения разрабатывают скважину посредством кратковременного воздействия на дно скважины специального инструмента, совершающего возвратно-поступательные движения. В зависимости от принципа работы все буровые станки данного типа делятся на 3 разновидности:
Их устройство не предполагает наличия осевого усилия при подаче рабочего инструмента — боек падает на дно скважины под своем весом. Такое оборудование имеет достаточно низкую производительность, но при этом она крайне эффективна при разработке хрупких горных пород.
Рабочий инструмент таких станков имеет вес 1-3 тонны, он подвешивается на лебедке и поднимается посредством кривошипно-шатунного механизма на высоту 1-2 метров над забоем. В процессе разработки на дно скважины заливается вода, размягчающая породу. Разрушенный грунт периодически удаляется с помощью желонки.
Установки для ударно-канатного бурения бывают как крупногабаритные на гусеничном (БС-3) либо колесном ходу (БЖ-6), так и компактные (сборного типа) для разработки скважин на воду. Общим недостатком всех агрегатов является низкая производительность, так как скорость свободного падения рабочего инструмента непосредственно зависит от силы земного притяжения и количество ударов невозможно увеличить выше отметки 50-60 шт/мин.
В таких агрегатах рабочим инструментом выступает шарошечное долото, осуществляющее дробяще-скалывающую разработку породы. Буровой колонне, на которой закреплено долото, сообщается не только возвратно-поступательное движение с большим усилием по отношению к дну забоя, но и вращательное движение.
Такие установки используются для бурения всех типов грунтов — от мягких до особо твердых (включая горные породы), они способы разрабатывать скважины диаметром 72-400 мм. Среди отечественного оборудования выделим станок СБШ-200 (глубина — 30 м, диаметр 190-243 мм) и станок СБШ-250 (глубина — 40 м, диаметр — 214-270 мм). При разработке карьеров чаще всего используется буровой станок БТС 150 на базе гусеничного трактора Т-10М.
Установки ударно-вращательного бурения отличаются от ударно-канатных и шарошечных агрегатов тем, что при разработке скважины их рабочий инструмент вращается не только в перерывах между ударами, а непрерывно. При этом забой углубляется за вхождения коронки в грунт в момент удара, а вращение обеспечивает очистку дна скважины от выработанной породы.
Основными признаками оборудования данного типа являются низкий крутящий момент и осевое усилие, при большой ударной нагрузке. Ударно-вращательное бурение демонстрирует максимальную производительность при работе на особо твердых и абразивных породах.
Среди техники отечественного производства наиболее распространенными установки серии СБУ-125, способные разрабатывать вертикальные и наклонные скважины диаметром до 125 мм на глубину до 22 метров. Все модели СБУ-125 обустроены на базе гусеничной углепогрузочной машины УП-3.
к меню ↑
2.1 Станки колонкового бурения
Установки колонкового бурения чаще всего применяются при исследовательских и строительных работах. Основным их отличием от шнекового и ударного оборудования является то, что выработка грунта осуществляется не по всему периметру скважины, и лишь по радиусу колонкового снаряда, который представляет собой круглую трубу с наваренными на торец твердосплавными режущими зубьями.
Также по колонковому принципу действуют все агрегаты для бурения отверстий в монолитных конструкциях из железобетона. Их рабочий инструмент оснащен специальными алмазными резцами, эффективно вскрывающими материал повышенной твердости.
Среди распространенного оборудования для разработки геологоразведочных скважин выделим станок СКБ-4100 (диаметр до 46 мм, глубина до 700 м) и Атлас Копко С5 (50 мм, до 1000 м).
























